Super 5 Gt Turbo


JSO : Site de conseils pour préparation moteur automobile et optimisation des performances pour circuit et compétition.

 

Sans avoir la prétention d'être préparateur et de connaître tous les réglages sur le GT turbo voici quelques astuces de "base" .

LA PRESSION TURBO (Pression d’origine 0.75bar)
Pour augmenter la pression de suralimentation (réglage maxi conseillé 1.1 bar), il suffit de re-tarer la waste-gate du turbo :
 - enlever la protection thermique qui couvre le collecteur d’échappement
 - enlever le clips au bout de la tige (sur la soupape de décharge)
 - desserrer le contre écrou
 - visser le bout sur la tige pour augmenter la pression
 - resserrer le contre écrou - remonter la protection thermique qui couvre le collecteur d’échappement.

L'ECHAPPEMENT
Le meilleur échappement sur un GT Turbo est un échappement libre (tube inox diam. 52 mm sur toute la longueur). www.lp-performances.com
Pour éviter les nuisances sonores : il faut supprimer l’intermédiaire et monter un pot à absorption en lieu et place de ceux d’origine.
Le pot à absorption se caractérise par un tube percé qui traverse le pot de tout son long.

L'ALLUMAGE
Avec l’allumage on peut encore gagner un peu :
 - En inversant les fils du capteur PMH au niveau du module Renix 209 on peut gagner 3 à 4° d’avance.
 - En enlevant le fil de masse du module Renix 208 ( phase 1 )on perd 3° d’avance.

L'ADMISSION
Il faut suivre les instructions de la revue technique pour préparer son échangeur :
 - il suffit de placer une vis pour bloquer le volet de l’échangeur ouvert
 - ou, plus dur, il faut ouvrir l’échangeur pour supprimer le volet et ensuite le cloisonner.
 - L’admission directe est déconseillée à cause de la chaleur qui circule dans le compartiment moteur. Optez pour un filtre de remplacement.

La CARBURATION
 Vous pouvez remplacer les gicleurs d’origine par les suivants (réglages Gr N) :
- Principal : 127,5
- Enrichisseur de pleine charge : 110
- Ralenti : 45
Disponible chez B2H dans le 91 au 0160908200 ou Carcreff dans le 92 0139806525
Attention ! si vous percez vos gicleurs vous même, avec des forêts micrométriques, cette opération est extrêmement délicate. Vous aurez toujours tendance à ovaliser les trous et par conséquent percer plus gros que ce que vous vouliez au départ !!!

Les Conseils JSO : D’autres réglages sont bien sûr possibles, notamment au niveau du turbo et du carburateur, aussi de la suspension ou du freinage… pour plus de précisions contactez-nous.

Bientôt sur cette page les réglages des trains roulants, ainsi que des astuces pour le freinage de la GT TURBO .

Le MONTAGE GT COUPE :

Moteur :
Le système de clavetage des soupapes 2 gorges est étudié pour un régime maxi de 6500 tours/minute. En cas de dépassement fréquent de cette limite, il est conseillé de remplacer périodiquement les clavettes de soupapes.  Pour les modèles 1985 et 1986, il est autorisé de monter des soupapes avec un clavetage trois gorges.
- Il est conseillé de retirer les joints de queues de soupapes.
- Patin pour éviter saut de courroie.
- Tampons élastiques à raideur augmentée, sans limiteur de débattement.

Lubrification :
- Carter inférieur avec cloisons intérieures évitant le déjaugeage.
- Modifier le circuit de ré aspiration des vapeurs d'huiles selon le schéma ci-dessous

Alimentation et échappement :
- La suppression du relais tachymétrique situé sur la platine de servitude est autorisée.
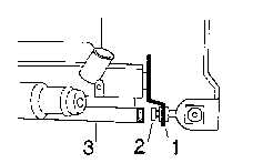
- Carburateur : Renvoi de la commande de pompe à essence. Une interface peut se produire entre l'extrémité de la biellette 2 et la cale isolante 3 située entre le carburateur et la tubulure d'admission. Afin d'éviter ce problème, il est recommandé de déformer légèrement le levier fixé sur l'axe de papillon, de limer la cale 3 extérieurement pour augmenter la garde avec le biellette 2 (cf schéma ci dessous).

- Volet de départ à froid : il est autorisé, afin de l'empêcher de battre à hauts régimes, de l'immobiliser en intercalant une rondelle plate entre le levier de commande et l'axe de rotation à la place de la rondelle ondulée. Il est autorisé de supprimer le câble de commande, la gaine et la patte de fixation sur le carburateur.
- Ressort de rappel d'accélérateur : il est possible de placer à l'intérieur du ressort un morceau de caoutchouc pour l'empêcher de vibrer et de se casser.
- Supprimer le filtre à air pour améliorer la vitesse des gaz d'admission, ce qui favorise le remplissage. Dans ce cas, monter un manchon muni d'un tamis prenant l'air directement au niveau de la calandre (déconseillé sur route).

Il faut également simplifier le circuit de pilotage du turbo pour améliorer son temps de réponse suivant le schéma suivant : attention, il faut ensuite vérifier la pression de turbo.
Tous les orifices doivent être parfaitement étanches sauf le deuxième boîtier régulateur qui doit être mis à l'air libre.

                        Montage A = Montage Origine

1) Buse de carburateur
2) Coiffe de carbu
3) Boîtier régulateur
4) Vers coude turbo
5) Tige de réglage du boîtier régulateur

Bientôt sur le site: Le refroidissement, les freins, la suspension et  la direction.

JSO … Francis              Retour à Préparation moteur